上一篇 下一篇 分享链接 返回 返回顶部

【如何挑选及购买压丸主机】——指南解析及优选途径 此标题强调了选择与购买压丸主机的过程,同时突出了本文的内容重点。

发布人:Popular. 发布时间:2026-01-04 00:20 阅读量:201

一、文章标题

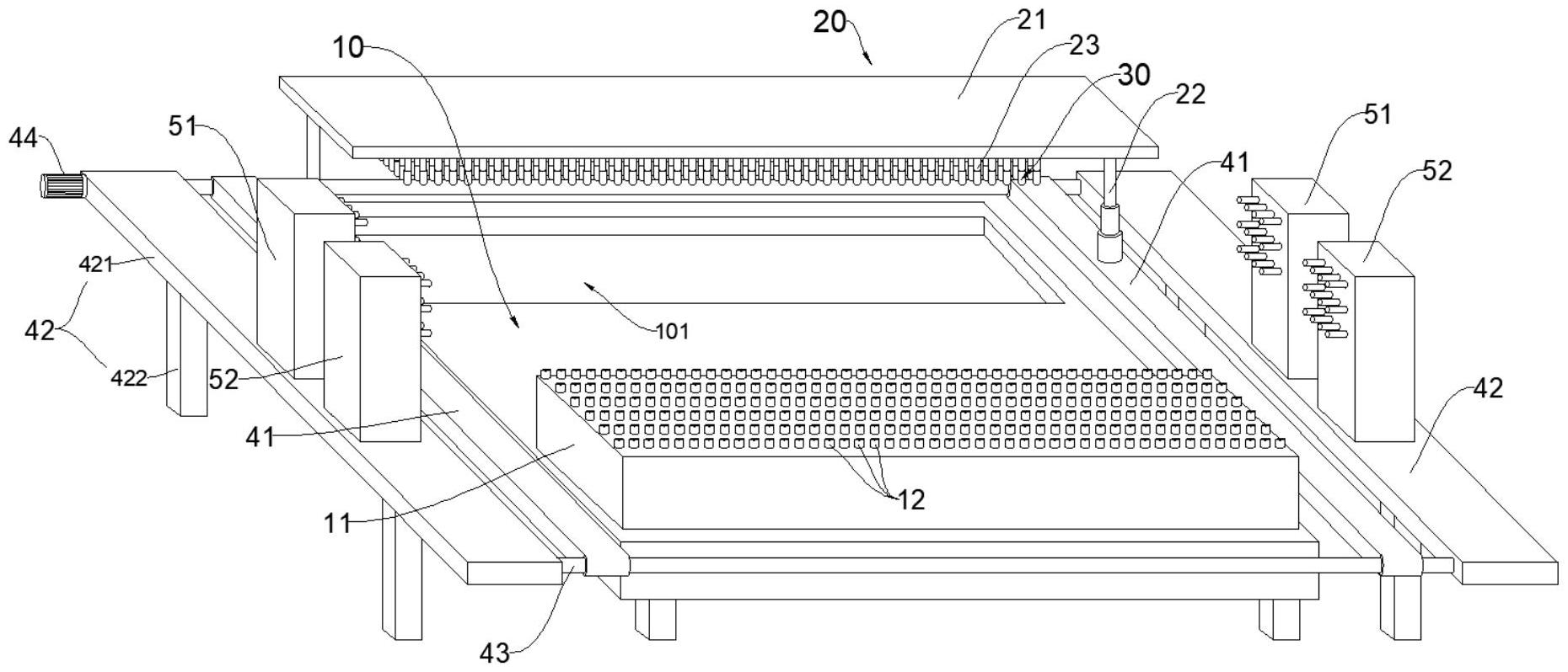
压丸主机用哪里买

压丸主机购买指南

压丸主机用哪里买

二、文章内容

压丸主机用哪里买

在购买压丸主机时,我们首先需要明确我们的需求。压丸主机是用于生产丸状物料的设备,广泛应用于食品、医药、化工等行业。不同的行业和不同的生产需求,需要不同类型的压丸主机。因此,在购买前,我们需要对所需设备进行详细了解。

1. 确定购买渠道

购买压丸主机的渠道多种多样,包括线上商城、实体店以及厂家直销等。这些渠道都有其优势和不足,需要根据实际情况进行选择。

(1)线上商城:线上商城购买方便快捷,品种丰富,可以随时随地查看和购买。同时,很多商家会提供优惠活动,价格相对较为实惠。但是,需要注意的是要选择信誉良好的商家,避免购买到假冒伪劣产品。

(2)实体店:实体店购买可以直观地看到产品的外观和性能,同时可以与商家面对面交流,更易获取全面的信息。但实体店价格相对较高,同时可能会因为距离较远而不便前往。

(3)厂家直销:直接从厂家购买可以保证产品的品质和售后服务。但需要注意的是要选择有实力、有信誉的厂家,并对其提供的售后服务进行详细了解。

2. 了解设备性能

在购买压丸主机时,需要了解设备的性能参数、操作便捷性以及设备的稳定性等。这需要我们对设备的生产工艺、材料选择、机械性能等有深入的了解。

(1)性能参数:了解设备的产量、耗能等性能参数,以确定是否符合生产需求。

(2)操作便捷性:操作简单便捷的设备可以降低操作成本,提高生产效率。因此,在选择设备时,需要关注其操作界面是否友好、操作步骤是否简单等。

(3)设备稳定性:设备的稳定性直接影响生产效率和产品质量。因此,在选择设备时,需要关注其稳定性如何、是否易于维护等。

3. 选择合适的服务商

在购买压丸主机时,选择一个好的服务商非常重要。好的服务商可以提供全面的技术支持和售后服务,确保设备的正常运行和生产效率。

(1)技术支持:好的服务商应能提供全面的技术支持,包括设备安装、调试、维修等。在设备出现故障时,能够及时响应并解决问题。

(2)售后服务:售后服务是衡量一个服务商好坏的重要标准之一。好的服务商应能提供完善的售后服务体系,包括定期维护、保养等,确保设备的正常运行和生产效率。

综上所述,购买压丸主机需要综合考虑多种因素,包括购买渠道、设备性能以及服务商的选择等。只有选择合适的设备和服务商,才能确保设备的正常运行和生产效率的提高。希望以上内容能对您有所帮助!

目录结构
全文